SP系列不銹鋼多級深井潛水電泵
SP系列不銹鋼多級深井潛水電泵,簡稱:SP潛水泵。適用于清潔水、軟化水的循環和增壓
采用304不銹鋼精制而成,在輸送含有小量氯化物的冷水時,耐腐蝕性較好。也適用于微堿水、脫礦物質水的輸送。316不銹鋼和氟橡膠制造的泵適用于腐蝕較強的液體
高效率:采用高效率的水力模型設計葉輪,可節省運轉成本
安裝面積?。罕门c電機為直立式組合,機體所占空間小
低安裝成本:不銹鋼材質意味著水泵重量輕,搬運方便。同時還意味著裝配成本低,節省安裝和維護時間
止回閥裝置:獨特的止回閥設計,防止停機時瞬間產生的水錘現象損害電機
產品組合多元化:可依照用戶實際需求的流量與揚程提供合理的產品組合,滿足用戶多元化的需求
對環境不產生污染:產品的部件均采用不銹鋼材質,不論運行或損壞都不會對環境造成污染
入口濾網:入口濾網可以防止超過規定數量的顆粒和大顆粒進入泵體
具備濾沙通道的軸承:所有的軸承均采用水潤滑、長方形狀軸承通道使得存在的沙??梢酝樗偷囊后w同時排出

SP系列不銹鋼多級深井潛水電泵
SP潛水泵型號舉例說明

SP潛水泵型號說明
SP潛水泵應用條件
泵送液體:含沙量低于200克/立方米的非固體介質
液體溫度:最高90℃
液體PH值:2~10
水下最大安裝深度:水下70米
電源:電壓220/380V、頻率50Hz/60Hz
SP潛水泵應用場合
深井提水
農業、園林灌溉
噴泉與景觀
高樓生活供水
別墅、度假村、高爾夫球場供水
養殖場、畜牧場給排水
礦山、工業供排水
地熱溫泉
SP潛水泵型號及數據
| 型號 數據 | SP1 | SP3 | SP5 | SP8 | SP12 | SP17 | SP30 | SP42 | SP60 |
| 額定流量m3/h | 1 | 3 | 5 | 8 | 12 | 17 | 30 | 42 | 60 |
| 額定流量l/s | 0.28 | 0.83 | 1.39 | 2.22 | 3.33 | 4.72 | 8.33 | 11.7 | 16.7 |
| 流量范圍m3/h | 0.2~2 | 0.8~4 | 1~6.5 | 2~11 | 3~18 | 4~22 | 5~38 | 5~60 | 10~75 |
| 流量范圍l/s | 0.06~0.56 | 0.22~1.1 | 0.28~1.8 | 0.56~3.1 | 0.83~5 | 1.11~6.1 | 1.39~10.6 | 1.39~16.7 | 2.8~20.8 |
| 最大壓力bar | 28 | 25 | 24 | 27 | 16 | 28 | 28 | 28 | 29 |
| 電機功率kw | 0.37~2.2 | 0.37~3 | 0.37~4 | 0.75~7.5 | 1.5~7.5 | 0.55~15 | 1.1~22 | 1.1~37 | 2.2~37 |
| 最高效率% | 40 | 56 | 59 | 60 | 60 | 73 | 74 | 75 | 79 |
| 管螺紋聯接 | Rp11/4 | Rp11/4 | Rp11/2 | Rp2 | Rp2 | Rp21/2 | Rp3 | Rp3 | Rp4 |
SP潛水泵零部件及材質

SP12潛水泵結構圖

SP42潛水泵結構圖

潛水泵結構圖
| 序號 | 零部件名稱 | 材質 | AISI |
| 1 | 出水體 | 不銹鋼/SS304 | AISI304 |
| 2 | 擋圈 | 不銹鋼/SS304 | AISI304 |
| 3 | 閥蓋 | 不銹鋼/SS304 | AISI304 |
| 4 | 閥體 | 不銹鋼/SS304 | AISI304 |
| 5 | 出水導葉 | 不銹鋼/SS304 | AISI304 |
| 6 | 葉輪螺母 | 不銹鋼/SS304 | AISI304 |
| 7 | 葉輪 | 不銹鋼/SS304 | AISI304 |
| 8 | 葉輪軸套 | 不銹鋼/SS304 | AISI304 |
| 9 | 導葉 | 不銹鋼/SS304 | AISI304 |
| 10 | 拉緊件 | 不銹鋼/SS304 | AISI304 |
| 11 | 導流器 | 不銹鋼/SS304 | AISI304 |
| 12 | 泵軸 | 不銹鋼/SS304 | AISI304 |
| 泵軸 | 不銹鋼/SS431 | AISI431 | |
| 13 | 支架 | 不銹鋼/SS304 | AISI304 |
| 14 | 螺釘 | 不銹鋼/SS304 | AISI304 |
| 15 | 口環 | PVC NBR | |
| 16 | 電纜套 | 不銹鋼/SS304 | AISI304 |
| 17 | 濾網 | 不銹鋼/SS304 | AISI304 |
| 18 | 電機 | ||
| 19 | 螺母/螺栓 | 不銹鋼/SS304 | AISI304 |
| 20 | 墊圈 | 不銹鋼/SS304 | AISI304 |
| 21 | 進水隔套 | 石墨 | |
| 22 | 螺母 | 不銹鋼/SS304 | AISI304 |
| 23 | 墊圈 | 不銹鋼/SS304 | AISI304 |
| 24 | 出水葉輪 | 不銹鋼/SS304 | AISI304 |
| 25 | 葉輪隔套 | 不銹鋼/SS304 | AISI304 |
| 26 | 軸圈 | 不銹鋼/SS304 | |
| 27 | 閥底 | NBR+不銹鋼/SS304 | |
| 28 | 支撐 | NBR | |
| 29 | 進水螺母 | 不銹鋼/SS304 | AISI304 |
| 30 | 浮動環 | NBR | |
| 31 | 聯接套 | 不銹鋼/SS304 | AISI304 |
| 32 | 摩擦片 | 不銹鋼/SS304 | AISI304 |
| 33 | 出水口外圈 | 不銹鋼/SS304 | AISI304 |
| 34 | 出水口環 | 不銹鋼/SS304 | AISI304 |
| 35 | 進水導葉 | 不銹鋼/SS304 | AISI304 |
| 39 | 墊圈 | 不銹鋼/SS304 | AISI304 |
| 40 | 螺母 | 不銹鋼/SS304 | AISI304 |
4″6″8″潛水電機引進美國及歐洲的新技術,采用獨特的設計與技術措施,并由先進的生產工藝與設備制造。全部按照美國MEMA標準花鍵頭鏈接。 實踐證明,潛水電機具有高可靠性、高效率,使用壽命長、成本低等優點。
SP1不銹鋼多級深井潛水電泵
性能曲線

SP1不銹鋼多級深井潛水電泵性能曲線圖
性能參數
| 泵 型 號 |
配用功率 | 流量Q | |||||||||||
| m3/h | 0.2 | 0.4 | 0.6 | 0.8 | 1.0 | 1.2 | 1.4 | 1.6 | 1.8 | 2.0 | |||
| kw | HP | L/min | 3.33 | 6.67 | 10 | 13.3 | 16.7 | 20 | 23.4 | 26.7 | 30 | 33.3 | |
| 揚程 H (m) | |||||||||||||
| SP1-6 | 0.37 | 0.5 | 33.5 | 33 | 32 | 31 | 30 | 29 | 27 | 25 | 22 | 19 | |
| SP1-9 | 0.37 | 0.5 | 51 | 50 | 49 | 48 | 46 | 44 | 41 | 38 | 34 | 29 | |
| SP1-13 | 0.55 | 0.75 | 73 | 72 | 71 | 69 | 67 | 64 | 60 | 55 | 49 | 42 | |
| SP1-17 | 0.75 | 0.10 | 96 | 95 | 92 | 90 | 87 | 84 | 78 | 71 | 64 | 55 | |
| SP1-21 | 1.1 | 1.5 | 119 | 118 | 115 | 112 | 108 | 103 | 97 | 89 | 80 | 69 | |
| SP1-25 | 1.1 | 1.5 | 141 | 140 | 137 | 134 | 129 | 123 | 116 | 106 | 95 | 82 | |
| SP1-28 | 1.5 | 2.2 | 158 | 157 | 153 | 150 | 145 | 138 | 130 | 119 | 107 | 92 | |
| SP1-32 | 1.5 | 2.2 | 180 | 179 | 175 | 171 | 165 | 158 | 148 | 136 | 122 | 105 | |
| SP1-36 | 1.5 | 2.2 | 203 | 202 | 197 | 192 | 186 | 178 | 167 | 153 | 137 | 118 | |
| SP1-39 | 2.2 | 3.0 | 221 | 219 | 214 | 209 | 202 | 193 | 181 | 166 | 149 | 128 | |
| SP1-42 | 2.2 | 3.0 | 238 | 236 | 230 | 225 | 217 | 208 | 195 | 179 | 160 | 137 | |
| SP1-46 | 2.2 | 3.0 | 260 | 258 | 252 | 246 | 238 | 227 | 213 | 196 | 176 | 151 | |
| SP1-50 | 2.2 | 3.0 | 284 | 282 | 276 | 269 | 260 | 248 | 233 | 214 | 192 | 165 | |
尺寸和重量

SP1不銹鋼多級深井潛水電泵外形尺寸圖
| 泵型號 | 尺寸(mm) | 重量 ?K |
||
| A | B | C | ||
| SP1-6 | 667 | 370 | 297 | 12 |
| SP1-9 | 730 | 370 | 360 | 13 |
| SP1-13 | 824 | 380 | 444 | 15 |
| SP1-17 | 928 | 400 | 528 | 17 |
| SP1-21 | 1052 | 440 | 612 | 19 |
| SP1-25 | 1136 | 440 | 696 | 20 |
| SP1-28 | 1229 | 470 | 759 | 23 |
| SP1-32 | 1313 | 470 | 843 | 24 |
| SP1-36 | 1397 | 470 | 927 | 25 |
| SP1-39 | 1500 | 510 | 990 | 29 |
| SP1-42 | 1563 | 510 | 1053 | 30 |
| SP1-46 | 1647 | 510 | 1137 | 31 |
| SP1-50 | 1731 | 510 | 1221 | 32 |
SP3不銹鋼多級深井潛水電泵
性能曲線

SP3不銹鋼多級深井潛水電泵性能曲線圖
性能參數
| 泵 型 號 |
配用功率 | 流量Q | |||||||||||
| m3/h | 0.8 | 1.2 | 1.6 | 2.0 | 2.4 | 2.8 | 3.0 | 3.2 | 3.6 | 4.0 | |||
| kw | HP | L/min | 13.3 | 20 | 26.7 | 33.3 | 40 | 46.8 | 50 | 53.5 | 60 | 66.7 | |
| 揚程 H (m) | |||||||||||||
| SP3-6 | 0.37 | 0.55 | 36 | 34 | 32 | 30 | 28 | 26 | 24 | 23 | 18 | 13 | |
| SP3-9 | 0.55 | 0.75 | 53 | 51 | 48 | 45 | 42 | 38 | 36 | 33 | 27 | 20 | |
| SP3-12 | 0.75 | 1.0 | 70 | 68 | 64 | 61 | 57 | 52 | 49 | 44 | 37 | 27 | |
| SP3-15 | 1.1 | 1.5 | 87 | 85 | 81 | 77 | 72 | 65 | 61 | 56 | 47 | 34 | |
| SP3-18 | 1.1 | 1.5 | 105 | 103 | 97 | 92 | 87 | 78 | 74 | 68 | 57 | 42 | |
| SP3-22 | 1.5 | 2.2 | 130 | 126 | 120 | 113 | 106 | 96 | 91 | 84 | 70 | 53 | |
| SP3-27 | 2.2 | 3.0 | 159 | 154 | 146 | 138 | 130 | 118 | 111 | 104 | 87 | 66 | |
| SP3-32 | 2.2 | 3.0 | 189 | 183 | 173 | 163 | 154 | 140 | 131 | 122 | 102 | 79 | |
| SP3-38 | 3.0 | 4.0 | 224 | 217 | 205 | 194 | 183 | 168 | 157 | 146 | 122 | 94 | |
| SP3-43 | 3.0 | 4.0 | 254 | 246 | 233 | 220 | 207 | 190 | 178 | 166 | 139 | 107 | |
尺寸和重量

SP3不銹鋼多級深井潛水電泵外形尺寸圖
| 泵型號 | 尺寸(mm) | 重量 ?K |
||
| A | B | C | ||
| SP3-6 | 667 | 370 | 297 | 12 |
| SP3-9 | 740 | 380 | 360 | 13 |
| SP3-12 | 823 | 400 | 423 | 16 |
| SP3-15 | 926 | 440 | 486 | 18 |
| SP3-18 | 999 | 440 | 549 | 19 |
| SP3-22 | 1103 | 470 | 633 | 22 |
| SP3-27 | 1248 | 510 | 738 | 27 |
| SP3-32 | 1353 | 510 | 843 | 28 |
| SP3-38 | 1589 | 620 | 969 | 31 |
| SP3-43 | 1694 | 620 | 1074 | 32 |
SP5不銹鋼多級深井潛水電泵
性能曲線

SP5不銹鋼多級深井潛水電泵性能曲線圖
性能參數
| 泵 型 號 |
配用功率 | 流量Q | |||||||||||
| m3/h | 1.0 | 2.0 | 3.0 | 3.5 | 4.0 | 4.5 | 5.0 | 5.5 | 6.0 | 6.5 | |||
| kw | HP | L/min | 16.7 | 33.3 | 50 | 58.3 | 66.7 | 75 | 83.3 | 91.5 | 100 | 108.5 | |
| 揚程 H (m) | |||||||||||||
| SP5-4 | 0.37 | 0.5 | 21 | 20.5 | 20 | 19 | 18 | 17 | 15 | 13 | 10 | 8 | |
| SP5-6 | 0.55 | 0.75 | 32 | 31 | 30 | 28 | 27 | 25 | 22 | 19 | 15 | 11 | |
| SP5-8 | 0.75 | 0.10 | 43 | 42 | 40 | 38 | 36 | 33 | 30 | 25 | 20 | 15 | |
| SP5-12 | 1.1 | 1.5 | 66 | 63 | 59 | 57 | 54 | 50 | 45 | 38 | 30 | 23 | |
| SP5-17 | 1.5 | 2.2 | 95 | 91 | 84 | 80 | 76 | 71 | 64 | 54 | 43 | 32 | |
| SP5-21 | 2.2 | 3.0 | 117 | 112 | 104 | 99 | 94 | 87 | 79 | 67 | 53 | 39 | |
| SP5-25 | 2.2 | 3.0 | 139 | 134 | 124 | 118 | 112 | 104 | 94 | 80 | 64 | 47 | |
| SP5-29 | 3.0 | 4.0 | 161 | 155 | 144 | 137 | 130 | 120 | 108 | 92 | 74 | 55 | |
| SP5-33 | 3.0 | 4.0 | 183 | 177 | 163 | 156 | 148 | 137 | 123 | 105 | 84 | 62 | |
| SP5-38 | 4.0 | 5.5 | 211 | 203 | 188 | 178 | 170 | 158 | 142 | 121 | 97 | 71 | |
| SP5-43 | 4.0 | 5.5 | 239 | 230 | 213 | 203 | 193 | 179 | 161 | 137 | 109 | 81 | |
尺寸和重量

SP5不銹鋼多級深井潛水電泵外形尺寸圖
| 泵型號 | 尺寸(mm) | 重量 ?K |
||
| A | B | C | ||
| SP5-4 | 625 | 370 | 255 | 12 |
| SP5-6 | 677 | 380 | 297 | 13 |
| SP5-8 | 739 | 400 | 339 | 15 |
| SP5-12 | 863 | 440 | 423 | 17 |
| SP5-17 | 998 | 470 | 528 | 21 |
| SP5-21 | 1122 | 510 | 612 | 26 |
| SP5-25 | 1206 | 510 | 696 | 27 |
| SP5-29 | 1400 | 620 | 780 | 29 |
| SP5-33 | 1484 | 620 | 864 | 30 |
| SP5-38 | 1719 | 750 | 969 | 33 |
| SP5-43 | 1824 | 750 | 1074 | 35 |
SP8不銹鋼多級深井潛水電泵
性能曲線

SP8不銹鋼多級深井潛水電泵性能曲線圖
性能參數
| 泵 型 號 |
配用功率 | 流量Q | |||||||||||
| m3/h | 2 | 3 | 4 | 5 | 6 | 7 | 8 | 9 | 10 | 11 | |||
| kw | HP | L/min | 33.3 | 50 | 66.7 | 83.3 | 100 | 116.7 | 133.3 | 150 | 167 | 183 | |
| 揚程 H (m) | |||||||||||||
| SP8-5 | 0.75 | 1.0 | 27 | 26 | 24 | 23 | 22 | 21 | 19 | 17 | 14 | 10 | |
| SP8-7 | 1.1 | 1.5 | 38 | 36 | 34 | 33 | 31 | 29 | 27 | 24 | 20 | 14 | |
| SP8-10 | 1.5 | 2.0 | 54 | 52 | 50 | 47 | 45 | 42 | 39 | 35 | 29 | 21 | |
| SP8-12 | 2.2 | 3.0 | 65 | 62 | 60 | 57 | 54 | 51 | 47 | 42 | 35 | 26 | |
| SP8-15 | 2.2 | 3.0 | 81 | 77 | 74 | 71 | 68 | 64 | 59 | 53 | 44 | 33 | |
| SP8-18 | 3.0 | 4.0 | 95 | 93 | 89 | 86 | 81 | 77 | 71 | 63 | 53 | 40 | |
| SP8-21 | 4.0 | 5.5 | 112 | 108 | 104 | 100 | 95 | 90 | 83 | 74 | 62 | 47 | |
| SP8-25 | 4.0 | 5.5 | 135 | 129 | 124 | 119 | 113 | 108 | 99 | 89 | 74 | 56 | |
| SP8-30 | 5.5 | 7.5 | 162 | 155 | 149 | 143 | 136 | 130 | 119 | 106 | 88 | 67 | |
| SP8-37 | 5.5 | 7.5 | 201 | 191 | 184 | 176 | 167 | 159 | 147 | 131 | 109 | 82 | |
| SP8-44 | 7.5 | 10 | 242 | 227 | 218 | 209 | 199 | 190 | 174 | 156 | 129 | 98 | |
| SP8-50 | 7.5 | 10 | 272 | 258 | 248 | 238 | 226 | 216 | 198 | 177 | 149 | 111 | |
尺寸和重量

SP8不銹鋼多級深井潛水電泵外形尺寸圖
| 泵型號 | 尺寸(mm) | 重量 ?K |
||
| A | B | C | ||
| SP8-5 | 853 | 400 | 453 | 16 |
| SP8-7 | 977 | 440 | 537 | 19 |
| SP8-10 | 1133 | 470 | 663 | 22 |
| SP8-12 | 1257 | 510 | 747 | 27 |
| SP8-15 | 1383 | 510 | 873 | 29 |
| SP8-18 | 1619 | 620 | 999 | 32 |
| SP8-21 | 1875 | 750 | 1125 | 35 |
| SP8-25 | 2043 | 750 | 1293 | 37 |
| SP8-30 | 2343 | 840 | 1503 | 43 |
| SP8-37 | 2637 | 840 | 1797 | 46 |
| SP8-44 | 3011 | 920 | 2091 | 55 |
| SP8-50 | 3263 | 920 | 2343 | 58 |
SP12不銹鋼多級深井潛水電泵
性能曲線

SP12不銹鋼多級深井潛水電泵性能曲線圖
性能參數
| 泵 型 號 |
配用功率 | 流量Q | ||||||||||
| m3/h | 3 | 4 | 6 | 8 | 10 | 12 | 14 | 16 | 18 | |||
| kw | HP | L/min | 50 | 66.7 | 100 | 133.3 | 167 | 200 | 233.8 | 267 | 300 | |
| 揚程 H (m) | ||||||||||||
| SP12-5 | 1.5 | 2.2 | 34 | 33 | 31 | 29 | 27 | 25 | 22 | 18 | 13 | |
| SP12-7 | 2.2 | 3.0 | 48 | 46 | 43 | 40 | 38 | 35 | 31 | 25 | 19 | |
| SP12-10 | 3.0 | 4.0 | 67 | 65 | 62 | 58 | 55 | 50 | 45 | 36 | 27 | |
| SP12-13 | 4.0 | 5.5 | 88 | 86 | 81 | 76 | 71 | 66 | 59 | 48 | 36 | |
| SP12-15 | 5.5 | 7.5 | 99 | 97 | 93 | 88 | 82 | 76 | 68 | 55 | 41 | |
| SP12-18 | 5.5 | 7.5 | 120 | 118 | 112 | 105 | 99 | 91 | 81 | 66 | 50 | |
| SP12-21 | 7.5 | 10 | 138 | 136 | 130 | 123 | 115 | 106 | 95 | 77 | 58 | |
| SP12-25 | 7.5 | 10 | 166 | 163 | 155 | 146 | 137 | 126 | 113 | 92 | 69 | |
尺寸和重量

SP12不銹鋼多級深井潛水電泵外形尺寸圖
| 泵型號 | 尺寸(mm) | 重量 ?K |
||
| A | B | C | ||
| SP12-5 | 1005 | 470 | 535 | 21 |
| SP12-7 | 1175 | 510 | 665 | 26 |
| SP12-10 | 1480 | 620 | 860 | 30 |
| SP12-13 | 1805 | 750 | 1055 | 34 |
| SP12-15 | 2025 | 840 | 1185 | 38 |
| SP12-18 | 2220 | 840 | 1380 | 40 |
| SP12-21 | 2495 | 920 | 1575 | 47 |
| SP12-25 | 2755 | 920 | 1835 | 50 |
SP17不銹鋼多級深井潛水電泵
性能曲線

SP17不銹鋼多級深井潛水電泵性能曲線圖
性能參數
| 泵 型 號 |
配用功率 | 流量Q | ||||||||||
| m3/h | 4 | 6 | 8 | 10 | 12 | 14 | 17 | 20 | 22 | |||
| kw | HP | L/min | 66.7 | 100 | 133.3 | 167 | 200 | 234 | 284 | 333 | 367 | |
| 揚程 H (m) | ||||||||||||
| SP17-1 | 0.55 | 0.75 | 10.5 | 10 | 9.5 | 9 | 8.5 | 8 | 6.5 | 5 | 4 | |
| SP17-2 | 1.1 | 1.5 | 20.5 | 20 | 19.5 | 19 | 18 | 16 | 13.5 | 10.5 | 8 | |
| SP17-3 | 2.2 | 3.0 | 31 | 30 | 29.5 | 28.5 | 27 | 24.5 | 20.5 | 16 | 13 | |
| SP17-4 | 2.2 | 3.0 | 41 | 40 | 39.5 | 38 | 36.5 | 33.5 | 28 | 22 | 18 | |
| SP17-5 | 3.0 | 4.0 | 52 | 51 | 50 | 48 | 45 | 42 | 35 | 28 | 23 | |
| SP17-6 | 4.0 | 5.5 | 62 | 61 | 60 | 58 | 55 | 51 | 42 | 34 | 27 | |
| SP17-7 | 4.0 | 5.5 | 73 | 71 | 70 | 67 | 64 | 59 | 49 | 40 | 31 | |
| SP17-8 | 5.5 | 7.5 | 83 | 81 | 80 | 77 | 73 | 67 | 57 | 45 | 36 | |
| SP17-9 | 5.5 | 7.5 | 93 | 91 | 90 | 87 | 82 | 76 | 64 | 52 | 40 | |
| SP17-10 | 5.5 | 7.5 | 103 | 101 | 100 | 97 | 91 | 85 | 72 | 58 | 45 | |
| SP17-11 | 7.5 | 10 | 113 | 111 | 109 | 106 | 100 | 94 | 79 | 64 | 50 | |
| SP17-12 | 7.5 | 10 | 123 | 121 | 119 | 115 | 109 | 102 | 87 | 70 | 55 | |
| SP17-13 | 7.5 | 10 | 133 | 131 | 129 | 125 | 118 | 111 | 95 | 75 | 60 | |
| SP17-14 | 9.2 | 12.5 | 143 | 141 | 139 | 134 | 128 | 119 | 102 | 81 | 65 | |
| SP17-15 | 9.2 | 12.5 | 153 | 151 | 148 | 144 | 137 | 128 | 109 | 87 | 70 | |
| SP17-16 | 9.2 | 12.5 | 163 | 161 | 158 | 154 | 146 | 136 | 116 | 92 | 75 | |
| SP17-17 | 9.2 | 12.5 | 173 | 171 | 167 | 163 | 155 | 145 | 123 | 98 | 79 | |
| SP17-18 | 11 | 15 | 184 | 181 | 177 | 173 | 164 | 154 | 130 | 104 | 84 | |
| SP17-19 | 11 | 15 | 194 | 191 | 187 | 182 | 174 | 162 | 138 | 110 | 89 | |
| SP17-20 | 11 | 15 | 204 | 201 | 197 | 192 | 184 | 171 | 145 | 116 | 94 | |
| SP17-21 | 13 | 17.5 | 214 | 211 | 207 | 202 | 193 | 180 | 152 | 121 | 99 | |
| SP17-22 | 13 | 17.5 | 224 | 221 | 217 | 211 | 202 | 188 | 160 | 127 | 104 | |
| SP17-23 | 13 | 17.5 | 235 | 231 | 227 | 221 | 211 | 198 | 167 | 133 | 109 | |
| SP17-24 | 13 | 20 | 245 | 241 | 236 | 230 | 220 | 205 | 174 | 139 | 113 | |
| SP17-25 | 15 | 20 | 255 | 251 | 246 | 240 | 229 | 213 | 181 | 145 | 118 | |
| SP17-26 | 15 | 20 | 265 | 261 | 256 | 250 | 238 | 222 | 189 | 150 | 122 | |
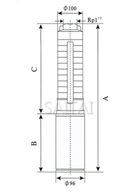
尺寸和重量

SP17不銹鋼多級深井潛水電泵外形尺寸圖
| 泵型號 | 尺寸(mm) | 重量 ?K |
|||
| A | B | C | ΦD | ||
| SP17-1 | 708 | 380 | 328 | 96 | 17 |
| SP17-2 | 828 | 440 | 388 | 96 | 21 |
| SP17-3 | 959 | 510 | 449 | 96 | 28 |
| SP17-4 | 1019 | 510 | 509 | 96 | 29 |
| SP17-5 | 1190 | 620 | 570 | 96 | 32 |
| SP17-6 | 1380 | 750 | 630 | 96/143 | 35/41 |
| SP17-7 | 1441 | 750 | 691 | 96/143 | 36/42 |
| SP17-8 | 1591 | 840 | 751 | 96/143 | 41/49 |
| SP17-9 | 1652 | 840 | 812 | 96/143 | 42/50 |
| SP17-10 | 1712 | 840 | 872 | 96/143 | 43/51 |
| SP17-11 | 1853 | 920 | 933 | 96/143 | 49/60 |
| SP17-12 | 1913 | 920 | 993 | 96/143 | 50/61 |
| SP17-13 | 1974 | 920 | 1054 | 96/143 | 51/62 |
| SP17-14 | 2000 | 870 | 1130 | 143 | 75 |
| SP17-15 | 2061 | 870 | 1191 | 143 | 76 |
| SP17-16 | 2121 | 870 | 1251 | 143 | 77 |
| SP17-17 | 2182 | 870 | 1312 | 143 | 78 |
| SP17-18 | 2292 | 920 | 1372 | 143 | 85 |
| SP17-19 | 2353 | 920 | 1433 | 143 | 86 |
| SP17-20 | 2413 | 920 | 1492 | 143 | 87 |
| SP17-21 | 2534 | 980 | 1554 | 143 | 95 |
| SP17-22 | 2594 | 980 | 1614 | 143 | 96 |
| SP17-23 | 2655 | 980 | 1675 | 143 | 98 |
| SP17-24 | 2715 | 980 | 1735 | 143 | 99 |
| SP17-25 | 2826 | 1030 | 1796 | 143 | 106 |
| SP17-26 | 2886 | 1030 | 1856 | 143 | 107 |
SP30不銹鋼多級深井潛水電泵
性能曲線

SP30不銹鋼多級深井潛水電泵性能曲線圖
性能參數
| 泵 型 號 |
配用功率 | 流量Q | ||||||||||||||||||||
| m3/h | 5 | 8 | 12 | 16 | 20 | 24 | 28 | 30 | 32 | 36 | 38 | |||||||||||
| kw | HP | L/min | 83.3 | 133.3 | 200 | 267 | 333 | 400 | 468 | 500 | 535 | 600 | 635 | |||||||||
| 揚程 H (m) | ||||||||||||||||||||||
| SP30-1 | 1.1 | 1.5 | 11.5 | 11 | 10.5 | 10 | 9.5 | 9 | 8 | 7.5 | 7 | 5.5 | 4.5 | |||||||||
| SP30-2 | 2.2 | 3.0 | 22.5 | 22 | 21 | 20 | 19 | 17.5 | 16 | 15 | 14 | 10.5 | 9 | |||||||||
| SP30-3 | 3.0 | 4.0 | 33.5 | 33 | 32 | 30 | 28 | 26 | 24 | 22 | 20 | 16 | 14 | |||||||||
| SP30-4 | 4.0 | 5.5 | 44.5 | 44 | 42 | 40 | 37 | 35 | 32 | 29 | 27 | 21 | 18 | |||||||||
| SP30-5 | 5.5 | 7.5 | 55.5 | 55 | 53 | 50 | 47 | 44 | 40 | 37 | 34 | 27 | 23 | |||||||||
| SP30-6 | 5. | 7.5 | 67 | 66 | 63 | 60 | 56 | 52 | 48 | 44 | 41 | 32 | 27 | |||||||||
| SP30-7 | 57.5 | 10 | 77 | 76 | 74 | 70 | 65 | 61 | 55 | 52 | 48 | 37 | 32 | |||||||||
| SP30-8 | 7.5 | 10 | 89 | 87 | 84 | 80 | 75 | 70 | 63 | 59 | 54 | 43 | 36 | |||||||||
| SP30-9 | 9.2 | 15 | 101 | 98 | 95 | 90 | 84 | 78 | 71 | 66 | 61 | 48 | 41 | |||||||||
| SP30-10 | 9.2 | 15 | 112 | 109 | 105 | 100 | 93 | 87 | 79 | 74 | 68 | 53 | 45 | |||||||||
| SP30-11 | 9.2 | 15 | 123 | 120 | 116 | 110 | 103 | 96 | 87 | 81 | 75 | 59 | 50 | |||||||||
| SP30-12 | 11 | 15 | 134 | 131 | 126 | 120 | 112 | 105 | 95 | 88 | 82 | 64 | 54 | |||||||||
| SP30-13 | 11 | 15 | 145 | 142 | 137 | 129 | 121 | 113 | 103 | 96 | 88 | 69 | 59 | |||||||||
| SP30-14 | 13 | 20 | 157 | 153 | 148 | 139 | 130 | 122 | 111 | 103 | 95 | 74 | 63 | |||||||||
| SP30-15 | 13 | 20 | 168 | 164 | 158 | 149 | 140 | 131 | 119 | 110 | 102 | 80 | 68 | |||||||||
| SP30-16 | 15 | 20 | 180 | 175 | 168 | 159 | 149 | 140 | 127 | 118 | 109 | 85 | 72 | |||||||||
| SP30-17 | 15 | 20 | 190 | 186 | 179 | 169 | 158 | 148 | 135 | 125 | 116 | 90 | 77 | |||||||||
| SP30-18 | 18.5 | 25 | 201 | 197 | 189 | 179 | 168 | 157 | 143 | 132 | 122 | 96 | 81 | |||||||||
| SP30-19 | 18.5 | 25 | 212 | 207 | 200 | 189 | 177 | 166 | 150 | 140 | 129 | 101 | 86 | |||||||||
| SP30-20 | 18.5 | 25 | 223 | 218 | 210 | 199 | 186 | 174 | 158 | 147 | 136 | 106 | 90 | |||||||||
| SP30-21 | 18.5 | 25 | 235 | 229 | 221 | 209 | 196 | 183 | 166 | 155 | 143 | 112 | 95 | |||||||||
| SP30-22 | 22 | 30 | 246 | 240 | 231 | 219 | 205 | 192 | 174 | 162 | 150 | 117 | 99 | |||||||||
| SP30-23 | 22 | 30 | 258 | 251 | 242 | 229 | 214 | 201 | 182 | 169 | 156 | 122 | 104 | |||||||||
| SP30-24 | 22 | 30 | 269 | 262 | 252 | 239 | 224 | 209 | 190 | 177 | 163 | 128 | 108 | |||||||||
| SP30-25 | 22 | 30 | 281 | 273 | 263 | 249 | 233 | 218 | 198 | 184 | 170 | 133 | 113 | |||||||||
尺寸和重量

SP30不銹鋼多級深井潛水電泵外形尺寸圖
| 泵型號 | 尺寸(mm) | 重量 ?K |
|||
| A | B | C | ΦD | ||
| SP30-1 | 802 | 440 | 362 | 96 | 20 |
| SP30-2 | 968 | 510 | 458 | 96 | 28 |
| SP30-3 | 1174 | 620 | 554 | 96 | 31 |
| SP30-4 | 1400 | 750 | 650 | 96/143 | 35/41 |
| SP30-5 | 1586 | 840 | 746 | 96/143 | 40/48 |
| SP30-6 | 1682 | 840 | 842 | 96/143 | 42/50 |
| SP30-7 | 1858 | 920 | 938 | 96/143 | 49/60 |
| SP30-8 | 1954 | 920 | 1034 | 96/143 | 51/61 |
| SP30-9 | 2016 | 870 | 1146 | 143 | 75 |
| SP30-10 | 2112 | 870 | 1242 | 143 | 77 |
| SP30-11 | 2208 | 870 | 1338 | 143 | 79 |
| SP30-12 | 2354 | 920 | 1434 | 143 | 85 |
| SP30-13 | 2450 | 920 | 1530 | 143 | 87 |
| SP30-14 | 2606 | 980 | 1626 | 143 | 96 |
| SP30-15 | 2702 | 980 | 1722 | 143 | 98 |
| SP30-16 | 2848 | 1030 | 1818 | 143 | 106 |
| SP30-17 | 2944 | 1030 | 1914 | 143 | 108 |
| SP30-18 | 3100 | 1090 | 2010 | 143 | 117 |
| SP30-19 | 3196 | 1090 | 2106 | 143 | 119 |
| SP30-20 | 3292 | 1090 | 2202 | 143 | 120 |
| SP30-21 | 3388 | 1090 | 2298 | 143 | 122 |
| SP30-22 | 3554 | 1160 | 2394 | 143 | 138 |
| SP30-23 | 3650 | 1160 | 2490 | 143 | 140 |
| SP30-24 | 3746 | 1160 | 2586 | 143 | 142 |
| SP30-25 | 3842 | 1160 | 2682 | 143 | 144 |
SP42不銹鋼多級深井潛水電泵
性能曲線

SP42不銹鋼多級深井潛水電泵性能曲線圖
性能參數
| 泵 型 號 |
配用功率 | 流量Q | |||||||||
| m3/h | 5 | 10 | 20 | 30 | 40 | 42 | 50 | 60 | |||
| kw | HP | L/min | 83.3 | 167 | 333 | 500 | 667 | 700 | 883 | 1000 | |
| 揚程 H (m) | |||||||||||
| SP42-1 | 2.2 | 3 | 13 | 12.5 | 12 | 10.5 | 9 | 8.5 | 7 | 4 | |
| SP42-2 | 3.0 | 4.0 | 26 | 25.5 | 34 | 21.5 | 18.5 | 17 | 14.5 | 8.5 | |
| SP42-3 | 5.5 | 7.5 | 40 | 38.5 | 36 | 32.5 | 28 | 26.5 | 22 | 13 | |
| SP42-4 | 7.5 | 10 | 53 | 52 | 49 | 43 | 37 | 36 | 29 | 18 | |
| SP42-5 | 7.5 | 10 | 66 | 65 | 61 | 54 | 47 | 45 | 38 | 23 | |
| SP42-6 | 9.2 | 12.5 | 79 | 78 | 74 | 66 | 57 | 54 | 45 | 28 | |
| SP42-7 | 11 | 15 | 92 | 91 | 86 | 77 | 66 | 63 | 52 | 32 | |
| SP42-8 | 13 | 17.5 | 105 | 104 | 98 | 87 | 75 | 72 | 58 | 36 | |
| SP42-9 | 15 | 20 | 118 | 117 | 110 | 97 | 84 | 80 | 65 | 40 | |
| SP42-10 | 15 | 20 | 132 | 130 | 122 | 108 | 93 | 89 | 72 | 45 | |
| SP42-11 | 18.5 | 25 | 144 | 142 | 134 | 119 | 103 | 98 | 79 | 49 | |
| SP42-12 | 18.5 | 25 | 157 | 155 | 146 | 130 | 112 | 107 | 87 | 54 | |
| SP42-13 | 22 | 30 | 170 | 168 | 158 | 141 | 122 | 116 | 94 | 58 | |
| SP42-14 | 22 | 30 | 183 | 181 | 160 | 152 | 131 | 125 | 102 | 63 | |
| SP42-15 | 22 | 30 | 196 | 194 | 182 | 163 | 140 | 134 | 109 | 67 | |
| SP42-16 | 25 | 40 | 209 | 207 | 194 | 174 | 150 | 143 | 116 | 72 | |
| SP42-17 | 25 | 40 | 222 | 220 | 206 | 184 | 159 | 152 | 123 | 77 | |
| SP42-18 | 30 | 40 | 235 | 233 | 218 | 195 | 168 | 161 | 131 | 81 | |
| SP42-19 | 30 | 40 | 248 | 246 | 231 | 206 | 178 | 170 | 138 | 86 | |
| SP42-20 | 30 | 40 | 261 | 259 | 243 | 217 | 187 | 179 | 145 | 90 | |
| SP42-21 | 37 | 50 | 274 | 271 | 255 | 228 | 196 | 188 | 152 | 95 | |
| SP42-22 | 37 | 50 | 287 | 283 | 267 | 238 | 205 | 197 | 160 | 99 | |
尺寸和重量

SP42不銹鋼多級深井潛水電泵外形尺寸圖
| 泵型號 | 尺寸(mm) | 重量 ?K |
|||
| A | B | C | ΦD | ||
| SP42-1 | 888 | 510 | 378 | 96 | 29 |
| SP42-2 | 1111 | 620 | 491 | 96 | 33 |
| SP42-3 | 1444 | 840 | 604 | 96/143 | 40/48 |
| SP42-4 | 1637 | 920 | 717 | 96/143 | 47/58 |
| SP42-5 | 1750 | 920 | 830 | 96/143 | 49/60 |
| SP42-6 | 1829 | 870 | 959 | 143 | 73 |
| SP42-7 | 1992 | 920 | 1072 | 143 | 80 |
| SP42-8 | 2165 | 980 | 1185 | 143 | 89 |
| SP42-9 | 2328 | 1030 | 1298 | 143 | 97 |
| SP42-10 | 2441 | 1030 | 1411 | 143 | 100 |
| SP42-11 | 2614 | 1090 | 1524 | 143 | 109 |
| SP42-12 | 2727 | 1090 | 1637 | 143 | 111 |
| SP42-13 | 2910 | 1160 | 1750 | 143 | 127 |
| SP42-14 | 3023 | 1160 | 1863 | 143 | 129 |
| SP42-15 | 3136 | 1160 | 1976 | 143 | 131 |
| SP42-16 | 3319 | 1230 | 2089 | 143 | 145 |
| SP42-17 | 3432 | 1230 | 2202 | 143 | 147 |
| SP42-18 | 3645 | 1330 | 2315 | 143 | 162 |
| SP42-19 | 3758 | 1330 | 2428 | 143 | 164 |
| SP42-20 | 3871 | 1330 | 2541 | 143 | 167 |
| SP42-21 | 4224 | 1570 | 2654 | 143 | 192 |
| SP42-22 | 4337 | 1570 | 2767 | 143 | 194 |
SP60不銹鋼多級深井潛水電泵
性能曲線

SP60不銹鋼多級深井潛水電泵性能曲線圖
性能參數
| 泵 型 號 |
配用功率 | 流量Q | |||||||||
| m3/h | 10 | 20 | 30 | 40 | 50 | 60 | 70 | 75 | |||
| kw | HP | L/min | 167 | 333 | 500 | 667 | 830 | 1000 | 1170 | 1250 | |
| 揚程 H (m) | |||||||||||
| SP60-1 | 2.2 | 3 | 12.5 | 12 | 10.5 | 8.5 | 7 | 6 | 4 | ||
| SP60-2 | 4.0 | 5.5 | 26 | 24.5 | 22 | 19 | 16.5 | 12.5 | 9 | 6 | |
| SP60-3 | 5.5 | 7.5 | 40 | 37 | 34 | 29 | 25 | 20 | 14 | 10 | |
| SP60-4 | 7.5 | 10 | 54 | 51 | 46 | 40 | 35 | 29 | 21 | 17 | |
| SP60-5 | 9.2 | 12.5 | 68 | 65 | 59 | 51 | 45 | 37 | 28 | 21 | |
| SP60-6 | 11 | 15 | 82 | 79 | 72 | 62 | 54 | 45 | 34 | 26 | |
| SP60-7 | 13 | 17.5 | 96 | 92 | 84 | 73 | 63 | 53 | 39 | 30 | |
| SP60-8 | 15 | 20 | 110 | 105 | 96 | 84 | 73 | 61 | 45 | 35 | |
| SP60-9 | 18.5 | 25 | 124 | 121 | 110 | 96 | 85 | 69 | 52 | 40 | |
| SP60-10 | 18.5 | 25 | 137 | 132 | 121 | 106 | 93 | 77 | 58 | 45 | |
| SP60-11 | 22 | 30 | 152 | 145 | 133 | 117 | 102 | 85 | 64 | 50 | |
| SP60-12 | 22 | 30 | 165 | 158 | 145 | 127 | 110 | 93 | 70 | 54 | |
| SP60-13 | 22 | 30 | 181 | 172 | 157 | 139 | 120 | 100 | 75 | 59 | |
| SP60-14 | 25 | 30 | 194 | 185 | 168 | 148 | 128 | 106 | 80 | 63 | |
| SP60-15 | 25 | 30 | 207 | 198 | 180 | 159 | 138 | 114 | 85 | 68 | |
| SP60-16 | 30 | 40 | 222 | 212 | 192 | 170 | 147 | 122 | 91 | 72 | |
| SP60-17 | 30 | 40 | 235 | 224 | 204 | 181 | 157 | 130 | 98 | 77 | |
| SP60-18 | 30 | 40 | 251 | 240 | 219 | 194 | 168 | 140 | 105 | 84 | |
| SP60-19 | 37 | 50 | 264 | 253 | 231 | 204 | 178 | 148 | 112 | 89 | |
| SP60-20 | 37 | 50 | 277 | 265 | 242 | 214 | 186 | 155 | 118 | 94 | |
| SP60-21 | 37 | 50 | 291 | 278 | 255 | 226 | 196 | 163 | 123 | 98 | |
尺寸和重量

SP60不銹鋼多級深井潛水電泵外形尺寸圖
| 泵型號 | 尺寸(mm) | 重量 ?K |
|||
| A | B | C | ΦD | ||
| SP60-1 | 878 | 510 | 368 | 96 | 30 |
| SP60-2 | 1231 | 750 | 481 | 96/143 | 35/41 |
| SP60-3 | 1434 | 840 | 594 | 96/143 | 41/49 |
| SP60-4 | 1627 | 920 | 707 | 96/143 | 48/59 |
| SP60-5 | 1690 | 870 | 820 | 143 | 72 |
| SP60-6 | 1869 | 920 | 949 | 143 | 78 |
| SP60-7 | 2042 | 980 | 1062 | 143 | 87 |
| SP60-8 | 2205 | 1030 | 1175 | 143 | 96 |
| SP60-9 | 2378 | 1090 | 1288 | 143 | 105 |
| SP60-10 | 2491 | 1090 | 1401 | 143 | 107 |
| SP60-11 | 2674 | 1160 | 1514 | 143 | 123 |
| SP60-12 | 2787 | 1160 | 1627 | 143 | 125 |
| SP60-13 | 2900 | 1160 | 1740 | 143 | 127 |
| SP60-14 | 3083 | 1230 | 1853 | 143 | 141 |
| SP60-15 | 3196 | 1230 | 1966 | 143 | 143 |
| SP60-16 | 3409 | 1330 | 2079 | 143 | 158 |
| SP60-17 | 3522 | 1330 | 2192 | 143 | 160 |
| SP60-18 | 3635 | 1330 | 2305 | 143 | 162 |
| SP60-19 | 3988 | 1570 | 2418 | 143 | 188 |
| SP60-20 | 4101 | 1570 | 2351 | 143 | 190 |
| SP60-21 | 4214 | 1570 | 2644 | 143 | 191 |
注:
1.本網頁的SP系列不銹鋼多級深井潛水電泵結構、結構圖、尺寸、參數、流量、揚程、電機轉速等主要性能參數,以及安裝尺寸圖、安裝尺寸表均只適用于參考,詳細CAD圖、安裝圖、以及產品說明書請向賽泰水泵營銷人員索取。
2.由于編輯水平有限,錯誤和不妥之處在所難免,真誠希望您批評指正。
SP系列不銹鋼多級深井潛水電泵相關產品
下一頁:QY型充油式潛水電泵
返回至本系列目錄:潛水泵
上一頁:BQW礦用型隔爆排污排沙潛水電泵